コース内容
機関2
動画レッスンです
0/1
機関1コース

熱勘定図とは?

熱勘定図とは、エンジンの燃焼による供給総熱量(入力値)を100%としたとき、
実際に出力されるエンジンの有効仕事量(出力値)と、様々な損失の割合を示した図のことをいいます。

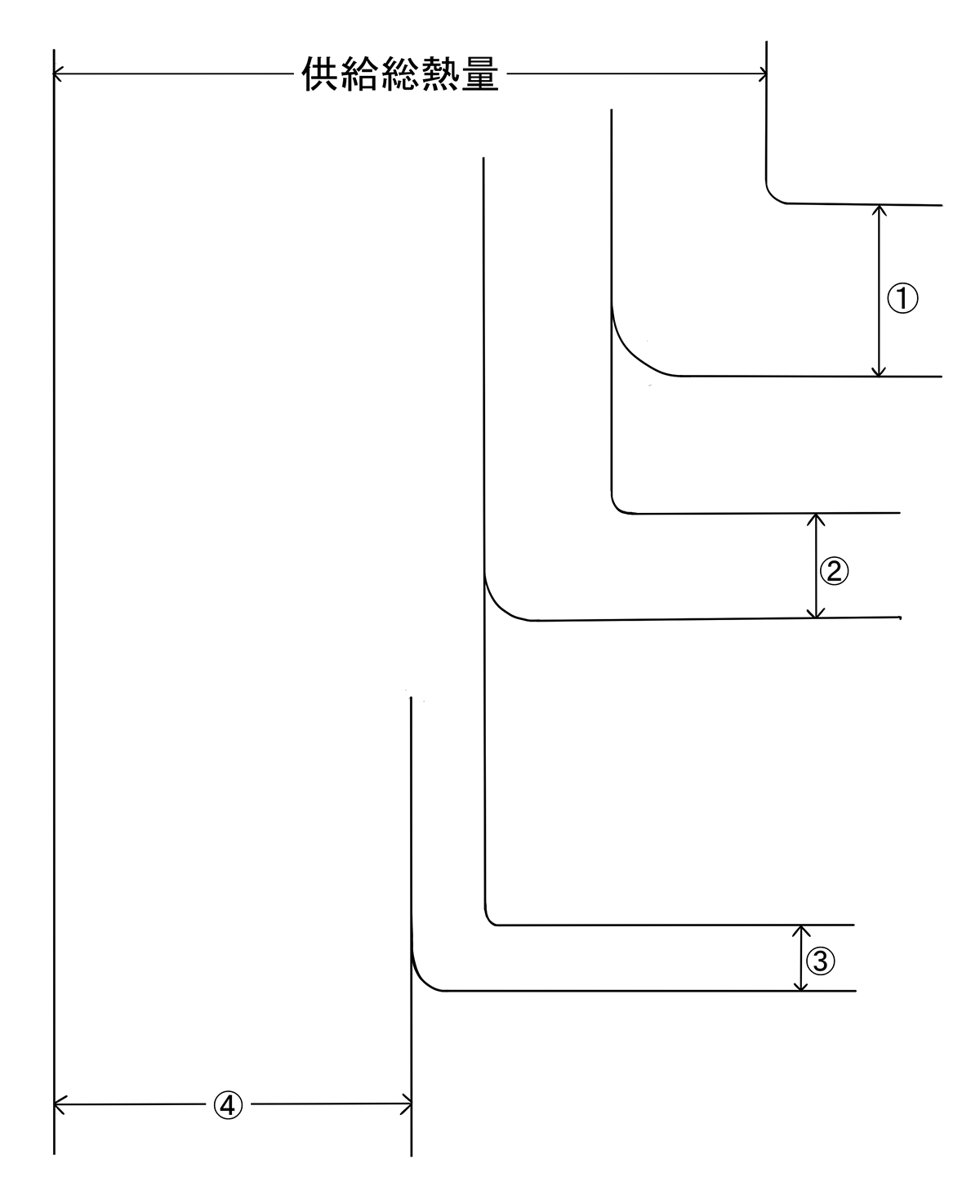
熱勘定図のサンプル
図:熱勘定図のイメージ
  1. 排気損失:
    シリンダ内で燃焼したのち、まだエネルギーを持った状態で排ガスとして外部に捨てられる損失。
    ディーゼル機関における損失の割合:約30%
  2. 冷却損失:
    シリンダなどを通るエンジンの冷却水によって奪われる発熱量の損失。
    冷却水温が低すぎると損失が増大し、高すぎると機関部品の焼き付き・損傷のリスクを発生させる。
    ディーゼル機関における損失の割合:約10%
  3. 機械損失:
    エンジンの各部品の摺動部分の接触面で発生する摩擦による損失。
    ディーゼル機関における損失の割合:約5%
  4. 有効仕事:
    供給総熱量から各損失を差し引いた、実際に出力されるエンジンの仕事量。